Appearance
空间管理
概述
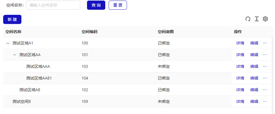
空间列表,采用树形层级来管理展示空间,便于管理和导航。可以将空间划分为不同的区域,如楼层、部门、房间等。每个空间节点都可以包含子节点,形成清晰的层次结构。

新建空间
支持空间名称,层级关系,比例尺及空间底图编辑。 

空间详情
空间详情,包含空间基础信息,底图信息。
基础信息
包含空间名称,空间编码,层级关系,比例尺等 
底图信息
底图信息,包含空间底图信息,支持设备在该空间中进行打点管理。界面分为左侧设备列表,右侧地图展示。

左侧设备列表交互
展示该空间下绑定的设备,列表有设备名称,设备编码,设备类型,定位与否的图标。如果设备已定位,则无法进行拖动到右侧底图中打点。
右侧底图信息交互 点击“编辑”按钮或者左侧未打点设备移入到底图这 2 种情况下,底图进入编辑状态,该状态下工具栏中新建,框选,移除全部,还原可以操作,否则不可操作。
显示/隐藏名称:默认不显示设备名称,图标为不显示名称的图标,点击显示设备名称在图标上,图标改为显示名称图标。
新建:点击【新建】工具栏,新建工具栏聚焦。聚焦后鼠标变成+和显示一个默认定位的图标,可在地图选择合适的位置,再次点击鼠标左键后弹窗来新建设备,新建成功后在点击处打上点。可以继续移动位置继续进行点击弹窗添加设备。再次点击或者切换其他工具栏后,取消掉新建的交互操作
框选:击【框选】工具栏,框选工具栏聚焦,可以显示二级菜单项,比如取消,移除框选内容。取消即取消框选框,移除框选内容即移除框选框即框选的图标。聚焦后鼠标左键点击即开始框选,移动鼠标就绘制矩形,再次点击鼠标左键即结束绘制,绘制的矩形根据开始鼠标与结束鼠标的坐标点决定。可以左键按住移动绘制的框选框,内部的图标也一起移动,再次点击或者切换其他工具栏后,取消掉框选的交互操作
移除全部:图标需要标红显示,并二次提醒确认后才能移除底图上所有图标。
还原:重置底图上一次保存的图标数据 ,需要二次确认下。
全屏/非全屏:默认非全屏,显示非全屏图标,点击全屏后,将地图部分全屏,并包含工具栏,图标变成非全屏图标,再点击或者浏览器退出全屏后,地图还原,图标变成全屏图标。
放大:地图按比例放大,最大放大到 4 倍,超过后不可点击,图标置为不可操作 放大也可通过鼠标滚轮“上滑” 。
缩小:地图按比例缩小,最小到 20%,超过后不可点击,图标置为不可操作 缩小也可通过鼠标滚轮“下滑” 。
